Jam de jarmiloj la problemo pri rapida transportado de sciigoj kaj komunikoj okupis gravan lokon en la homa penso, kaj oni povas diri, ke la teknikaj rimedoj por facila komunikado je grandaj distancoj egale evoluis kun la tuta komplika socia vivo.
Rimarkindaj ŝtupoj en la transporto de komunikoj estas la transiro de la kuriero al la letero, de la letero al la telegramo, de la telegramo al la telefona interparolado. Ĝis la nuna momento la telefonio reprezentas la plej perfektan komunikilon, ne nur pro ĝia rapideco, sed ankaŭ ĉefe pro la fakto, ke ĝi permesas la senperan transportadon de la homa voĉo, kiu ĉiam estis la plej intima interrilatilo inter la homoj. En la daŭro de 50 jaroj tiu telefonio evoluis ĝis miriga perfekteco, sed estas kompreneble, ke por atingi tiel altan gradon de perfekteco, oni devis venki multajn kaj plej diversajn malfacilaĵojn. La eltrovoj en la regiono de la telefonio okupas plej interesajn paĝojn en la historio de la tekniko, kiuj tamen estas nur tre supraĵe konataj de la publiko. La celo de la sekvontaj paĝoj estas, doni koncizan skizon pri la evoluo de la telefonio ĝis ĝiaj plej mirigaj formoj, la aŭtomata kaj la senfadena telefonio.
La distanco, je kiu oni povas aŭdigi sin per la voĉo, estas tre limigita, kaj jam delonge oni serĉis rimedojn por pligrandigi tiun distancon. Jam antaŭ jarcentoj oni konis la transportadon de la sonoj per tuboj kaj la plifortigon de la voĉo per ŝipvokiloj, sed la vera evoluo de la telefonio komenciĝis nur post la apliko de la elektro al la problemo.
Jam en 1861 Philipp Reis, germana instruisto por la fizika scienco, konstruis kaj publike montris aparaton, per kiu la transporto de sonoj pere de elektro estis ebla. Ne plu ekzistas dubo, ke li ankaŭ sukcesis aŭdigi parolatajn vortojn ĝis en distanco de ĉ. 100 metroj for de la aparato. Sed lia aparato estis praktike ankoraŭ ne uzebla, kvankam ĝi enhavis jam la fundamenton por telefonado. Kiel ofte okazas, la eltrovinto ne posedis sufiĉan korpan forton kaj necesajn monrimedojn, por daŭrigi sian studadon kaj la perfektigon de la aparato. Kvankam diversloke, speciale en Anglujo, oni multe eksperimentis per la aparato de Reis, tamen daŭris ĝis 1876, ĝis kiam - preskaŭ samhore - Bell kaj Gray en Ameriko prezentis la patent-skribojn pri praktike uzebla telefon-aparato, kiu en sufiĉa amplekso transportis la homan voĉon al malproksima loko. Prave kaj rajte oni nomas Reis-on “eltrovinto de l'hodiaŭa telefono”, kaj Bell-on “kreinto de la hodiaŭa telefonio”.
![]() |
![]() |
Esence la telefono de Bell, kiu kun malgrandaj ŝanĝoj estas uzata ankoraŭ nun (vidu figurojn 1. kaj 2.), konsistas el ŝtalmagneto, kiu portas malgrandan bobenon kun kupra fadeno kaj kontraŭ kies fino troviĝas fera membrano, kiu povas libere vibradi. La telefono povas funkcii kiel sendilo kaj ricevilo, kiam oni interligas la fadenojn de la du bobenoj (fig. 3.). La vibradoj de la unua membrano naskas malfortajn elektrajn fluojn en la unua bobeno. Tiuj fluoj estas kondukataj al la dua bobeno, kie ili plifortigas aŭ malplifortigas la altirforton de la magneto, tiel ke tiu ĉi lasta vibrigas la duan membranon, kiu reproduktas la aervibradojn de la voĉo.

Nuntempe la telefono estas uzata nur kiel ricevilo kaj ne plu kiel sendilo, ĉar per la telefono kiel sendilo oni povas venki nur tre malgrandajn distancojn. Pli fortan sendilon oni trovis en la mikrofono, kun kies eltrovo ĉefe la nomo de Hughes estas ligita. Tamen la mikrofono estas en multaj rilatoj kaj de multaj eltrovistoj pliperfektigita, kaj en sia nuna formo ĝi apenaŭ memorigas pri la originala mikrofono de Hughes. La nuntempaj mikrofonoj konsistas el malgranda skatolo plenigita per karba pulvoro (fig. 4.). La karba pulvoro Kg troviĝas inter du vandoj el karbo, Kp, el kiuj la dekstra estas tenata de la korpo de la mikrofono, dum ke la maldekstra estas fiksita al la vibranta membrano M.

La principo de la komuna funkciado de la mikrofono kaj telefono estas la jena: pro la vibradoj de la membrano la karba pulvoro estas alterne pli kaj malpli premata, kaj pro tio varias la elektra rezisto de la pulvoro. La elektra fluo de kelkaj elementoj (fig. 5.) estas kondukata tra la karba pulvoro, kaj pro la varianta rezisto de la pulvoro ankaŭ varias la forteco de tiu fluo. La fluo estas kondukata tra la bobeno de telefono, kie ĝi laŭ la jam priskribita metodo reproduktas la vibradojn de la mikrofono.

La mikrofono, la telefono, la baterio, kiu produktas la elektran fluon, kaj la interligantaj fadenoj estas ankoraŭ hodiaŭ preskaŭ la solaj aparatoj, kiuj funkcias dum telefona interparolado. Kiam oni pripensas tion, oni apenaŭ povas kompreni, kial la tuta aparataro de niaj telefonaj centraloj devas esti tiel treege komplika. Tamen mallonga pripensado komprenigas, ke oni ne nur bezonas la rimedojn por la senpera interparolado, sed ankaŭ la helpilojn, kiuj interligas la du parolontajn aparatojn en tia maniero, ke estas eble, ke oni povu paroli laŭvole kun diversaj personoj.
La plej simpla interligo de telefonaj aparatoj okazas, kiam nur estas bezone, interparoli inter du fiksitaj lokoj, en kiuj la telefonaj aparatoj povas esti instalataj. En tiu okazo estas sufiĉe, interligi la du aparatojn per du izolitaj kupraj fadenoj. La uzon de la tero kiel rekondukilo por la elektro, tiel bone konatan el la telegrafio, oni ne povis apliki en la telefonio pro diversaj kaŭzoj. Sed jam en tiu plej simpla formo la telefoniloj devas enhavi pli multe ol simplan telefonon kaj mikrofonon. Estas ja klare, ke oni bezonas rimedon, per kiu oni povas averti unu la alian, se telefona interparolado estas dezirata, ĉar estas neeble, konstante havi la telefonon ĉe la orelo kaj la mikrofonon ĉe la buŝo.

Por tiu averto servas sonoriloj, kiuj por malgrandaj distancoj estas samspecaj, kiel la konataj elektraj sonoriloj, funkciantaj per la kontinua fluo de kelke da elementoj. Se la distanco estas pli granda, estas necese, uzi sonorilojn, kiuj funkcias per alterna fluo, kaj tiu ĉi lasta devas esti produktata de malgranda generataro, muntita en la telefona aparato kaj movata per malgranda turnilo (fig. 6.). La fluoj, uzataj por la alvoko, devas ankaŭ esti kondukataj de kupraj fadenoj, kaj estas kompreneble, ke pro ekonomio oni uzas por tiu celo la samajn fadenojn, kiuj ankaŭ servas por la transporto de la telefonaj fluoj. Ne estas dezirinde, ke la fadenoj povu esti uzataj en la sama momento por la du celoj, kaj tial la aparatoj ricevas ankoraŭ ŝaltilon, kiu alterne povas fermi la cirkviton por la telefonaj kaj por la sonorilaj fluoj. Tiu ŝaltilo estas kombinata kun la hoko, kiu portas la telefonon dum la tempo, kiam ĝi ne estas uzata; la meĥanismo do estas tia, ke dum la tempo, kiam la aparato estas ekster funkcio, nur la sonorilaj fluoj povas trairi la linion; kaj kiam oni dehokigas la telefonon, nur la telefonaj fluoj povas trapasi la fadenojn. Se ni ankoraŭ aldonas malgrandan transformatoron por la plifortigo de la mikrofonaj fluoj, la inventaro de la telefona aparato estas kompleta. Laŭ la generatoro, kiu liveras la alternan fluon por la sonoriloj kaj kiu enhavas kelkajn ŝtalmagnetojn, oni nomas la aparatojn de la priskribita sistemo magnetaj aparatoj. Ili estas tute sufiĉaj por la komunikoj inter du lokoj, eĉ se tiuj troviĝas en distanco de kelkaj kilometroj.
Jam baldaŭ post la eltrovo de la telefonaj aparatoj oni komprenis, ke la vera profito de la nova rimedo por interkomunikado en distanco nur povas esti havata, se oni instalas ĉe diversaj personoj en urbo la aparatojn kaj aranĝas la aferon tiamaniere, ke la partopnenantoj en la sistemo povas laŭplaĉe paroli unu kun la alia. Al tiu ideo la konstruo de la telefonaj centraloj donis praktikan formon. La principo de tia centralo do estas la jena: ĉiu partoprenanto havas en sia domo telefonan aparaton, kiu estas ligata per du izolitaj kupraj fadenoj al la centralo. En tiu centralo troviĝas oficistinoj, kiuj havas la taskon, interligi laŭ peto de iu partoprenanto liajn du fadenojn al tiuj de iu alia partoprenanto. Kiam tiu interligo estas farita, la du personoj povas senpere interparoli. Kompreneble la centralo devas enhavi la necesajn aparatojn por ebligi la aluditajn interligojn en praktika kaj rapida maniero. Se la nombro de la partoprenantoj estas nur malgranda, la aparatoj en la centralo estas nur tre simplaj, sed kiam la nombro de partoprenantoj kreskas, la malfacilaĵoj kreskas en pli granda proporcio, kaj la komplikeco de la aparataro en centraloj kun miloj da partoprenantoj estas laŭ proporcio multe pli granda, ol kiam la nombro da partoprenantoj estas nur kelkaj dekoj. Ni sekvos la evoluon el la tre malgrandaj centraloj ĝis la plej modernaj centralegoj.
La ĉefa rimedo, per kiu la oficistinoj en la centraloj interligas la liniojn de la partoprenantoj, estas fleksebla ŝnuro, kiu enhavas interne du izolitajn kuprajn fadenojn, kiuj servas por konekti la du liniojn de la abonintoj. Por facile fari tiajn konektojn, la ŝnuroj finiĝas per ŝtopiloj, kiuj estas metataj en tielnomatajn ĵakojn, tio estas tubetoj, en kiuj troviĝas risortoj, kiuj faras la necesajn kontaktojn. La figuro 7. montras en skema maniero, kiel konekto inter la aparatoj A kaj B de du abonintoj estas farata. La telefonistino havas antaŭ si ŝrankon, sur kies antaŭa vando troviĝas unu ĵako por ĉiu aboninto, kaj en tiuj ĵakoj finiĝas en risortoj la du fadenoj, kondukantaj al la aparato de la partoprenanto. Per ŝnuro kun du ŝtopiloj la telefonistino povas interligi kiujn ajn liniojn de abonintoj.

Estas necese, ke la abonintoj povu averti la oficistinon, kiam ili deziras paroli kun iu alia aboninto. La rimedo por alvoko, pri kiu la aboninto disponas, estas la generatoro de lia telefona aparato, per kiu li povas sendi alternan fluon al la centralo. Sed oni facile komprenas, ke se en la centralo ĉiu aboninto povus sonorigi sonorilon, la diferencigo inter la diversaj alvokoj estus treege malfacila, se ne malebla. Tial oni anstataŭigis en la centralo la sonorilojn per signaloj, konsistantaj el malgrandaj elektromagnetoj kun klapoj. Tia klapo defalas, kiam la magneto estas ekscitita de la fluo, kaj montras, sur kiu linio oni sonorigas. La telefonistino havas specialan telefonan aparaton, kiun ŝi per ŝnuro kaj ŝtopilo ligas al la ĵako de la vokanta aboninto, kaj ŝi povas demandi, kun kiu alia aboninto li deziras paroli. Post la koncerna sciigo la telefonistino deprenas la konekton inter sia propra aparato kaj tiu de la vokanto kaj interligas la liniojn de la du partoprenantoj per ŝnuro kun du ŝtopiloj. La abonanto, kiu deziras paroli, nun povas alvoki la alian en la ordinara maniero per sia generatoro. La figuro 8. vidigas tian centran aparaton kun klapoj, ĵakoj kaj ŝnuroj por dek linioj. Oni uzas ankoraŭ hodiaŭ tiajn aparatojn kiel centralojn en malgrandaj vilaĝoj aŭ en oficejoj por la intertelefonado inter la ĉambroj, kiam la nombro da konektotaj aparatoj estas nur tre malgranda.

La priskribita aparataro estas vere la plej simpla, kiu postulas la minimumon da aparatoj en la centralo, sed la funkcioj de la telefonistino estas tiel multenombraj, ke ŝi povas fari nur malmulte da konektoj dum difinita tempo. Krom tio la aboninto faras ankoraŭ parton de la laboro, nome la alvokon de la alia aboninto.
La plibonigoj en la centraloj por pli multe da partoprenantoj do havas ĉefe du celojn: ebligi, ke la telefonistino faru kiel eble plej multe da konektoj dum unu horo, kaj simpligi la alvokon por la partoprenantoj.
Estas krome alia afero pri kiu oni devas atenti. La telefonistino konektas du abonintojn per ŝnuro kun du ŝtopiloj, sed estas klare, ke ne ĉiuj abonintoj bezonas paroli samtempe. Ŝi do ne bezonas havi tiom da ŝnuroj, kiom estus necesaj por interligi ĉiujn partoprenantojn, do malpli ol la duonon de la partoprenantoj. Kiom da ŝnuroj ŝi vere bezonas, ne estas facile direble, tio dependas ne nur de la ofteco de la alvokoj, sed ankaŭ de la daŭro de ĉiu interparolado. Ni tie ĉi jam tuŝas demandon, kiu estas tre grava por la aŭtomata telefonio, kie la ekonomio ludas gravan rolon. Por ŝpari ŝnurojn, estas necese, ke la uzataj ŝnuroj estu tuj liberigataj post la uzo, do kiam la konversacio finiĝis, la telefonistino devas esti avertata, ke ŝi povas forpreni la ŝnuron kaj uzi ĝin por alia konekto.
La plej simpla maniero, en kiu la abonintoj povas averti la oficistinon, estas la jena: oni ligas signalon al la ŝnuro kaj petas al la abonintoj, ke ili funkciigu siajn generatorojn post la fino de la interparolado. Tiam la klapo de la signalo falas, kaj la telefonistino deprenas la ŝnuron. Tamen ankaŭ tio ĉi estas komplikaĵo por la aboninto, kaj se li forgesas turni la generatoron, la telefonistino kredas, ke la parolado ankoraŭ daŭras, kaj ŝi ne povas fari novan konekton, nek per la ŝnuro, nek kun la abonintoj. La rapida kaj fidinda indiko de la fino de la interparoladoj, se eble en aŭtomata maniero, do estas ankaŭ grava postulo por la plibonigo de la centraloj.
Por kontentigi la diversajn postulojn, oni enkondukis specialajn ŝnurojn, provizitajn per ŝaltiloj, kiuj servas por la konekto de la telefona aparato de la telefonistino al la ŝnuroj. Tiu aparato nun konsistas nur el tielnomata mikrotelefono aŭ el kaptelefono kun brustmikrofono, kiuj estas ligitaj al la ŝaltiloj de ĉiuj ŝnuroj. La funkcioj nun estas la jenaj: Kiam aboninto alvokas, klapo falas, kaj la telefonistino metas la ŝtopilon de libera ŝnuro en la ĵakon de la vokanto. Puŝante la ŝaltilon, apartenantan al tiu ŝnuro laŭ unu direkto, ĝi povas paroli kun la vokinto kaj ekscii la deziratan numeron. Nun ŝi metas la duan ŝtopilon en la ĵakon de la vokoto kaj puŝas la ŝaltilon en la kontraŭan direkton. Turnante sian generatoron, ŝi tiam povas alvoki la duan aboninton, do tiamaniere la telefonistino liberigas la abonintojn de tiu laboro. Aŭskultante la telefonistino povas kontroli, ĉu la abonintoj vere interparolas, kaj metante la ŝaltilon en la neŭtralan pozicion, ŝi malkonektas sian aparaton el la ŝnuro kaj povas servi aliajn interligojn. La malkonekto okazas en la priskribita maniero.

Figuro 9. montras telefonŝrankon aranĝitan laŭ tiu ĉi sistemo. Supre oni vidas la klapojn de la signaloj por la alvoko kaj por la malkonekto. Sub tiuj klapoj troviĝas la ĵakoj, unu por ĉiu linio de aboninto. Sur la tableto staras la ŝtopiloj, ligitaj al la ŝnuroj, kiuj estas kovrataj de la antaŭa breto de la ŝranko. La ŝnuroj portas pezilojn, kiuj ilin tiras malsupren, tiel ke la ŝtopiloj refalas en siajn normalajn poziciojn, kiam oni delasas ilin. Antaŭ la ŝtopiloj troviĝas la ŝaltiloj, per kiuj oni povas konekti kun kiu ajn ŝnuro la mikrotelefonon, videblan maldekstre. Ĉe la dekstra flanko de la tablo oni vidas la turnilon de la generatoro, per kiu la telefonistino sendas la sonorilan fluon.
La sistemo estas tre taŭga por lokaj centraloj kun kelkaj centoj da abonintoj. Ĝi estas multe aplikita kaj servas ankoraŭ hodiaŭ.
Tamen la kresko de la nombro da partoprenantoj kunportas novajn postulojn. Unu el la plej kompreneblaj faktoj estas, ke se la nombro da partoprenantoj transpasas certan limon, unu sola telefonistino ne plu povas servi ĉiujn abonintojn. Oni do metas du ŝrankojn unu flanke de la alia kaj dividas la laboron. Ĉiu telefonistino havas tian telefonŝrankon antaŭ si, en kiu troviĝas la klapoj kaj la ĵakoj de la abonintoj. Sur horizontala breto estas denove la ŝtopiloj, ligitaj al la ŝnuroj kaj la ŝaltiloj. Se okazas, ke aboninto, servata de unu telefonistino, volas paroli kun alia aboninto, kies klapo kaj ĵako troviĝas antaŭ la alia telefonistino, la unua telefonistino povas etendi la brakon antaŭ sia kunulino kaj tiamaniere fari la konekton. Tiu sistemo ebligas la duobligon de la nombro da partoprenantoj, sed tie ĉi ni trovas novan limon. Se oni metus tri telefonistinojn en unu vicon, jam ne estus eble, ke la ekstere sidantaj etendu la manon ĝis preter la meza telefonistino por fari konektojn. Rimedo kontraŭ tiu ĉi malhelpo estas trovebla en jena maniero. Oni faras specialajn helpliniojn inter la ŝrankoj, kies telefonistinoj ne povas atingi unu la alian. Per helpo de tiuj linioj la konektoj estas farataj, kaj la telefonistinoj do avertas unu la alian voĉe sur kiu linio ili faras konekton kaj por kiu aboninto tiu konekto estas destinita. Ĝis malgranda nombro da telefonistinoj tiu metodo estas uzebla; ĉe pli granda nombro da fraŭlinoj la sistemo estus tro brua kaj ĝena. Tiaokaze oni enkondukas novan principon, tiun de la multobla aŭ multipla sistemo.
La principo de la multipla sistemo estas la jena: Ĝis nun ĉiu aboninto havis nur unu ĵakon en la telefonŝranko, kaj tiu ĵako estis uzata de la telefonistino ambaŭtempe, kiam la aboninto mem petis konekton kaj kiam li estis vokata de alia aboninto. En la multipla sistemo oni apartigas la ĵakojn por tiuj du celoj. Oni do diferencigas du specojn de ĵakoj, nome la alvokajn kaj la multiplajn ĵakojn. La unuaj okupas la samajn lokojn kiel la antaŭe priskribitaj. Kiam iu aboninto alvokas la centralon, la alvoko estas respondata per la alvoka ĵako. La alvokaj ĵakoj estas dividitaj inter la diversaj telefonistinoj, tiel ke ĉiu telefonistino havas antaŭ si eble 200 alvokajn ĵakojn kaj egalan nombron da alvokaj klapoj.
La multiplaj ĵakoj okupas la superan parton de la telefonŝranko, kaj ili estas aranĝitaj tiamaniere, ke ĉiu telefonistino povas atingi multiplan ĵakon de ĉiu aboninto de la centralo. Por tiu celo estas necese, ripeti la multiplajn ĵakojn kelkafoje. Ne estas bezone, ke la multipla ĵakaro aperu antaŭ ĉiu oficistino, ĉar ĉiu fraŭlino povas atingi ankaŭ la ĵakojn, kiuj troviĝas antaŭ ŝiaj du najbarinoj. Sufiĉas do, ke oni ripetu la multiplan ĵakaron antaŭ ĉiu grupo de tri telefonistinoj. Ekzemple, se estas 3000 abonintoj kaj ĉiu telefonistino povas servi la alvokojn de 200 abonintoj, oni bezonas 15 oficistinojn. La multipla ĵakaro estas ripetata antaŭ ĉiu grupo de tri telefonistinoj, do kvin fojojn. Oni devas atenti, ke nun ĉiu telefonistino faras la alvokon de la dezirata aboninto per la multipla ĵako, ankaŭ se ŝi havas antaŭ si la alvokan ĵakon de la sama aboninto. En skema maniero la figuro 10. klarigas la principon de la multiplaj ĵakoj. Oni vidas, ke la multiplaj ĵakoj estas ripetataj antaŭ ĉiu grupo de tri tabloj.

La multipla sistemo alportas novan komplikaĵon. Okazas kompreneble, kiam sinjoro A volas paroli kun sinjoro B, ke tiu ĉi lasta hazarde jam parolas kun iu sinjoro C. Kiam ĉiu aboninto havis sur la ŝranko nur unu ĵakon, la telefonistino povis tuj rimarki, ĉu la dezirata aboninto jam parolas aŭ ne, kaj ŝi povis eventuale informi la alvokanton, ke la dezirata persono jam estas okupita. Tia ne plu estas tiel facila en la multipla sistemo, ĉar povas okazi, ke la dezirita aboninto jam parolas per sia multipla ĵako antaŭ alia telefonistino. La multiplaj ĵakoj, apartenantaj al la sama aboninto, estas interligitaj, kiel oni diras, paralele, do se la telefonistino tamen farus la konekton, tri linioj estus interkonektitaj, kaj la nova alveninto ĝenus la konversacion de la jam parolantaj, aŭ li povus sekrete aŭskulti la paroladon ne destinitan por li. Por eviti tiun ĉi malbonan eblecon, la telefonistino devas povi kontroli en taŭga maniero, ĉu la dezirita aboninto jam iamaniere parolas aŭ ne. Por tiu celo ŝi provas aŭ testas ĉiun linion, antaŭ ol fari la konekton, tia estas, ŝi tuŝas per la pinto de la ŝtopilo la eksteran randon de la ĵako. La aranĝo estas farita tiel, ke se la aboninto jam parolas per alia multipla ĵako, la randoj de ĉiuj multiplaj ĵakoj apartenantaj al unu aboninto, kiuj estas interligitaj, havas elektran tension kaj tiu tensio kaŭzas bruon en la telefono de la telefonistino, kiam ŝi tuŝas per la ŝtopilo la randon de la ĵako. Se la linio estas tute libera, ŝi aŭdas nenion. La telefonistino do nun povas eventuale averti la aboninton, ke ŝi ne povas doni la deziritan konekton kaj ke li devas ree voki post iom da tempo. Kun tiu ĉi testsistemo la tuta aparataro povas denove funkcii regule kaj fidinde, sed oni komprenas, ke la skemo de la interligoj estigis pli komplika. Ordinare oni aldonas por la celo de la testado trian fadenon en ĉiu ŝnuro, kaj kiel jam dirite, ankaŭ la randoj de la ĵakoj estas interligitaj de tria fadeno.
Antaŭen irante sur la vojo al plibonigo, ni renkontas novan ŝtupon. En la priskribita sistemo estas du aferoj, kiuj postulas se eble ŝanĝon. La unua temas pri la provizo de la mikrofonoj per elektra fluo. Tiu provizo okazis ĝis nun per galvanaj elementoj, ĉu sekaj, ĉu malsekaj. Apud la aparato de ĉiu aboninto devas troviĝi kelke de tiaj elementoj, kaj la prizargado kaj renovigado de tiuj miloj da elementoj kaŭzas multon da ĝeno kaj da kostoj al la telefonaj administracioj. Oni do klopodis okazigi la liveradan de la fluo por ĉiuj abonintaj kune el unu centra baterio en la centralo. Oni por tiu celo povas uzi baterion de akumulatoroj, kiu estas pli ekonomia kaj pli facile traktebla ol la multaj dissemitaj elementoj. Efektive la klopodoj en tiu direkto havis rezultaton, kaj por la pli grandaj centraloj oni do enkondukis la sistemon kun centra baterio. Nuntempe oni eĉ enkondukas la sistemon jam por sufiĉe malgrandaj telefoncentraloj, ĉar ĝi havas multajn avantaĝojn, kiel tuj evidentiĝos.
La dua punkto, kiun ni jam aludis, estas la uzado de klapoj kiel anonciloj. La ĝeno estas, ke la telefonistino devas ĉiam per la mano relevi la falintan klapon. Oni kanstruis specialajn klapojn, kiuj estas aŭtomate relevataj per la enmeto de la ŝtopilo en la ĵakon, sed kvankam oni ankoraŭ aplikas tiun sistemon, oni povas pli facile anstataŭigi la klapojn per lampoj. La uzado de la malgrandaj telefonlampoj estas tre facila, kiam estas centra baterio, kiu povas produkti la necesan fluon. Alia avantaĝo de la lampoj kontraŭ la signaloj estas tio, ke ili okupas malpli da loko. Oni muntas la lampetojn precize super la alvokaj ĵakoj, al kiuj ili apartenas, kaj tiel la lampetoj kun la ĵakoj okupas nur malgrandan lokon. Kiam centra baterio estas uzata, la uzo de lampoj anstataŭ klapoj estas tute ĝenerala. Ankaŭ en sistemoj kun tielnomataj lokaj baterioj, t. e. kun la elementoj ĉe la abonintoj hejme, la lampetoj estas ofte aplikataj.
La sistemo kun centra baterio havas ankoraŭ alian atentindan avantaĝon. Ĝi ja ebligas alian, pli simplan manieron de alvoko al la centralo. La sistemo estas tia, ke ĉiu mikrofono ricevas sian elektran fluon el la centra baterio. Ne estas necese, ke la mikrofono ankaŭ estu trairata de la elektra fluo dum la tempo, kiam ĝi ne estas uzata. La sama rimarkigo kompreneble validas por la sistemoj kun lokaj baterioj. Por eviti la neutilan foruzon de fluo, oni zorgas, ke la cirkvito de la mikrofono estas interrompita de la ŝaltilo de la hoko dum la tempo, kiam la lasta portas la telefonon. La sama metodo estas ankaŭ sekvata ĉe la sistemoj kun centra baterio, do kiam la aboninto deprenas la telefonon de la hoko, la centra baterio komencas liveri fluon al la linio de la aboninto. Oni enmetas en la fadenojn, kiuj kondukas al la partoprenanto, relajson, tio estas elektromagneto kun malpeza armaturo, kiu ekfunkcias tuj, kiam ĝi estas trairata de la fluo. La relajso fermas siavice la cirkviton de lampeto, kiu do anoncas al la telefonistino la alvokon. Jen do la aboninto ne plu bezonas turni la generatoron, ĉar la simpla depreno de la telefono de la hoko jam konigas al la telefonistino lian deziron, paroli kun iu alia aboninto. La aparatoj por la telefonio kun centra baterio povas esti pli simplaj ol tiuj por la sistemoj kun lokaj baterioj, ĉar oni ne plu bezonas la generatoron, kaj la rezultato estas, ke la aparatoj estiĝas malpli multekostaj.
La relajso fariĝis tre grava parto en ĉiu telefonsistemo. Oni eĉ povas diri, ke ĝi formas la kernon de ĉiu moderna sistemo, kiu enhavas milojn de tiaj aparatoj. La tre kamplikitaj skemoj de grandaj centraloj povis esti kunmetataj nur kun helpo de grandaj kvantoj da relajsoj. Fakte per ilia helpo oni povas atingi ĉiuspecajn rezultatojn. Oni povas aranĝi la ekbrulon kaj la estingiĝon de lampoj, kiel estas bezone; oni povas fermi cirkvitojn kaj malfermi ilin denove, tuj kiam ili estas plenumintaj siajn funkciojn, kaj tiamaniere oni povas atingi, ke tre multaj aferoj okazas aŭtomate sen kontrolo, nek de la abonintoj, nek de la telefonistinoj.
La sistemo kun centra baterio signifas grandan paŝon antaŭen, kompare al la sistemoj kun lokaj baterioj. La sistemo estas aplikata en miloj da centraloj de meza amplekso. Verdire ĝi estas ankaŭ uzata en la plej grandaj centraloj, ĉar ankaŭ la pliperfektigitaj mansistemoj kaj la aŭtomataj sistemoj ĉiam uzas centran baterion.
La centra-bateri-sistemo en la formo, kiel ĝi estas ĵus skizita, montras kelkajn mankojn, kiam la nombro de la abonintoj kreskas.
Unu el la aferoj, kiuj havas siajn malfacilaĵojn, estas la sistemo de la multiplaj ĵakoj. Kiel ni jam diris, ĉiu telefonistino devas esti kapabla, atingi la multiplajn ĵakojn de ĉiuj abonintoj senescepte, kaj ĉar la longeco de la brakoj de ordinaraj fraŭlinoj ne superas certan limon, oni komprenas, ke ankaŭ la amplekso de la ĵakaro ne povas transpasi certan limon. Oni do estis devigita, konstrui la ĵakojn kiel eble plej malgrandaj, por ke la nombro da ĵakoj en la atingo de la telefonistinoj estu kiel eble plej granda. La maksimumo, kiu povas esti atingata tiamaniere, tamen ne superas 20 000.
Ekzistas ankoraŭ alia kaŭzo, pro kiu oni ne ofte konstruas tiel grandajn centralojn. Por kompreni tiun kaŭzon, ni devas atenti la fadenojn, kiuj ligas la domojn de la abanintoj kun la centralo. En la komenco de la telefontekniko oni uzis por tiu celo ekskluzive kuprajn fadenojn, portatajn de izolatoroj sur mastoj aŭ stangoj sur la tegmentoj. Tiu metodo estas la plej malmultekosta, sed la fadenoj ofte suferis pro ventegoj, kaj la sistemo postulis multe da zorgo por riparo ktp. Ankaŭ kiam la nombro da fadenoj ĉiam pligrandiĝis, la uzo de nudaj fadenoj estiĝis ĉiam pli malpraktika, kaj oni transiris al uzo de subteraj kabloj aŭ de kabloj portataj sur stangoj. La subtera sistemo estas pli kaj pli ofte uzata, precipe en urboj, kie multe da abonintoj loĝas unu apud la alia. La kabloj elradias el la centralo kaj dividiĝas en ĉiam malpli dikajn kablojn, kiuj atingas eĉ la plej malproksimajn angulojn de la urbo. Tiu sistemo estas pli multekosta, precipe kiam la urbo estas granda kaj la abonintoj loĝas en kvartaloj, kiuj estas malproksimaj de la centralo. Por ŝpari kablojn, kiuj okupas pli kaj pli grandan sumon en la budĝeto de la centraloj, oni transiris al decentraliga sistemo kaj konstruis apartajn centralojn en diversaj partoj de la urboj. Sed kompreneble estas necese, ke la abonintoj, kies aparatoj estas ligitaj al diversaj centraloj, tamen povu facile kaj rapide interparoli. Por tiu celo oni uzas specialajn liniojn aŭ kablojn inter la centraloj, kiujn oni nomas intercentralaj linioj. Ili estas uzataj tre konstante por interkomunikoj inter abonintoj de diversaj centraloj kaj tiamaniere oni ŝparas multe da fadenoj en la urbo, ĉar se oni ligas ĉiujn abonintojn al unu centralo, la linioj ne estas uzataj tiel intense.
Por la konektoj trans intercentralaj linioj oni bezonas la helpon de du telefonistinoj, kiuj troviĝas en la du kunlaborantaj centraloj kaj kiujn oni diferencigas kiel A- kaj B-telefonistinojn.

Figuro 11. montras skize, kiel la sistemo funkcias. La A-telefonistino estas la telefonistino, kiu respondas al la alvoko, kiu sin anoncas per la ekbrulo de la alvoka lampeto OL. Ŝi prenas ŝtopilon kaj metas ĝin en la ĵakon AK, kiu apartenas al la sama linio, kaj puŝante la ŝaltilon de la koncerna ŝnuro, ŝi povas paroli kun la alvokanta aboninto. Ŝi ekscias la deziratan numeron kaj do scias, ke la aboninto deziras paroli kun iu sinjoro, konektita al alia centralo. Ŝi havas antaŭ si la ĵakojn VK de certa nombro da intercentralaj linioj VL, kiuj kondukas al la tablo de B-telefonistino en la alia centralo. Sed la samaj linioj ankaŭ povas esti uzataj (en maniero, kiu ne estas montrita en la figuro), de aliaj telefonistinoj en la A-centralo, kiuj ankaŭ deziras konekti kun la sama B-centralo. Por provi, kiu linio estas libera, oni sekvas plej ofte la sistemon de la tielnomataj komandolinioj. Tiuj estas apartaj linioj OL, kiuj interligas nur la telefonistinojn de diversaj centraloj inter si, kaj kiuj estas uzataj por demandi al la B-telefonistino, kiu intercentrala linio estas libera. La A-telefonistino komunikas al la B-telefonistino la deziratan numeron, tiu ĉi lasta, ripetas la numeron kaj indikas la numeron de la intercentrala linio, per kiu la konekto povas esti farata. La A-telefonistino konektas la vokintan aboninton al tiu intercentrala linio kaj en la sama momento la B-telefonistino la intercentralan linion al la linio de la dezirata aboninto, kies multiplan ĵakon MK ŝi trovas en la multipla ĵakaro. Se la aboninto estas okupita, ŝi raportas tion. Post la fino de la konversacio la abonintoj remetas la telefonilojn sur la hokojn, kaj pro tio eklumas lampetoj, kiuj avertas la telefonistinojn, ke ili povas forpreni la ŝnurojn. En figuro 11. TK estas ĵako, al kiu per ŝtopilo estas konektata la telefonilo de la telefonistino. Kiam la A-telefonistino puŝas la ŝaltilon OLS, ŝi povas senpere paroli kun la B-telefonistino per la linio OL.
La decentraliga sistemo estas tre ĝenerale uzata en grandaj urboj, kaj la grandaj urbegoj posedas tiamaniere eĉ dekojn da centraloj, kiuj estas ĉiuj interligitaj per intercentralaj linioj. Tamen oni facile komprenas, ke la sistemo jam postulas tre komplikitajn skemojn. Ordinare oni kunigas en unu centralo ne pli ol 10 000 abonintojn, sed en tre grandaj urboj oni aplikas ankaŭ centralojn de pli granda amplekso. Sed tiaokaze oni ofte trovas en unu konstruaĵo du aŭ tri centralojn, kiuj estas ligitaj inter si per intercentralaj linioj.
Kiel ni jam diris, la amplekso de la multipla ĵakaro estas unu el la grandaj malhelpoj, kiuj kontraŭstaras la ĉiaman pligrandigon de centralo. Tamen oni serĉis rimedojn por pligrandigi kiel eble plej multe la nombron da ĵakoj, kiujn oni povas meti en la atingo de telefonistino. Al tiuj klopodoj ŝuldas sian ekziston la tielnomataj distribuaj sistemoj. En tiuj sistemoj oni forprenas de la telefinistino, kiu havas antaŭ si la multiplan ĵakaron, la alvokajn lampojn kaj ĵakojn kaj tiamaniere do gajnas spacon. La respondo al la alvokoj tiam estas farata de specialaj telefonistinoj, kiuj havas nur la taskon, kiam aperas brulanta alvoka lampo, respondi tiun alvokon per la enmeto de ŝtopilo en ĵakon. Ŝi tiam konektas la aboninton al libera telefonistino de la unua speco, kiu demandas pri la dezirata numero kaj faras la reston de la konekto. Oni nomas la telefonistinojn, kiuj respondas al la alvokoj, distribuaj telefonistinoj aŭ, ĉar ili nenion diras, mutaj telefonistinoj. La telefonistinoj, kiuj faras la konektajn, nomiĝas konektaj telefonistinoj. Per sistemo de lampoj la distribua telefonistino ĉiam povas kontroli, kiuj konektaj telefonistinoj estas liberaj kaj kiuj estas okupataj per la preparo de iu konekto. La distribua telefonistino do nur havas la taskon, distribui la alvenantajn alvokojn inter la konektaj telefonistinoj, tiel ke tiuj ĉi estas egale ŝarĝataj. En pli novaj sistemoj la rolo de la distribuaj telefonistinoj estas transprenata de aŭtamataj ŝaltiloj. Tiaj sistemoj jam formas la transiron al la vere aŭtamataj sistemoj.
Ankaŭ en aliaj direktoj oni klopodis pliperfektigi la mansistemojn. Unu el la plej konataj sistemoj estas tiu kun aŭtomata sonorigado kaj aŭskultado. La funkcio de tiu sistemo estas la jena: Kiam aboninto levas la telefonon de la hoko, lampo aperas antaŭ la telefonistino, kiu prenas ŝtopilon kaj metas ĝin en la ĵakon de la linio de la aboninto. Ŝi nun ne bezonas movi ŝaltilon por povi paroli kun la aboninto, ĉar la rolo de tiu ŝaltilo estas transprenata de kelkaj relajsoj, kiuj aŭtomate konektas la aparaton de la telefonistino al la linio de la aboninto. Eksciinte la deziratan numeron, la telefonistino prenas la duan ŝtopilon, testas la linion, ĉu ĝi estas libera, kaj se ĝi estas, ŝi enmetas la ŝtopilon. Tiam la sonorigado ankaŭ okazas tute aŭtomate, kaj ĝi estas ripetata post regulaj intertempoj, ĝis kiam la vokata aboninto deprenas la telefonilon de la hoko. En tiu momento la sonorigado aŭtomate ĉesas, kaj la abonintoj povas interparoli. La telefonistino ne plu povas aŭskulti la konversacion. Post la fino de la interparolado la du abonintoj surhokigas la telefonilon kaj per tio aŭtomate aperigas lampetojn, kiuj anoncas al la telefonistino, ke ŝi povas forpreni la ŝnurojn. Oni nomas tiun ĉi sistemon ankaŭ la sistemo sen ŝaltiloj, ĉar en ĝi mankas la ŝaltiloj, almenaŭ por la celoj, por kiuj ili estas uzataj en aliaj sistemoj. Per tiu ĉi sistemo la telefonistinoj povas labori tre rapide, kaj la nombro de la alvokoj, kiujn ili povas kontentigi dum difinita tempo, estas pli granda ol ĉe la pli simplaj sistemoj. Tio pravigas la pli altajn kostojn de la multaj relajsoj, kiujn oni bezonas en tiu ĉi sistemo, ĉar oni povas ŝpari per ili la elspezojn de la salajroj de kelkaj telefonistinoj, kiuj elspezoj estas tre gravaj, ĉar ili revenas ĉiujare.

La figuro 12. donas ideon pri la aspekto de moderna centralo de la mansistemo kun centra baterio. La montrata centralo (en Nijmegen, Nederlando) estas aranĝita laŭ iom alia sistemo ol la ĵus priskribita. Por ne tro multe eniri en detalojn, ni ne priskribos ĝin.
En la laste pritraktitaj sistemoj jam multe da aferoj okazas aŭtomate per helpo de relajsoj kaj similaj aparatoj. La paŝo al la pure aŭtomataj sistemoj tial ne estas granda.
Aliflanke la klopodoj, por konstrui aŭtomatan sistemon, estas jam tre malnova multe pli malnovaj ol la plej perfektigitaj mansistemoj. La unuaj klopodoj jam estis farataj kelkajn jarojn post la eltrovo de la telefono de Bell, sed la unua iom praktike uzebla sistemo estis tiu de Strowger, el la jaro 1889. La ŝaltilo de Strowger estas ankoraŭ nun tre multe uzata, kvankam kompreneble en plibonigita formo.
Konsiderante la problemon de la telefonio, oni povas tuj rimarki, ke inter la agoj de la telefonistinoj estas du esence diferencaj specoj. Unu serio de iliaj agoj estas tute meĥanika, kaj ne estas malfacile, transigi tiun serion de agoj al aŭtomataj aparatoj. Al tiu kategorio apartenas la respondo al brulanta lampo, la testado de linio, ĉu ĝi estas libera aŭ ne, la sonorigado ktp. Sed estas dua serio de agoj, kiu postulas la helpon de la intelekto, tio estas la aŭskultado al la aboninto kaj la serĉado de iu ĵako en la multipla ĵakaro. En la aŭtomataj sistemoj la intelektaj agoj ne povas esti transprenataj de aparatoj, kaj por tiu celo do devas helpi la alvokanta aboninto mem. Li devas iamaniere elekti la de li deziratan numeron. La por tiu celo plej ofte uzata ilo estas disko sur la telefonaparato, kiu portas ciferojn de 1 ĝis 9 kaj 0 kaj kiu estas turnata de la aboninto. Turnante la diskon kelkafoje ĝis la dezirata cifero kaj lasante ĝin reiri libere, la aboninto kunmetas la numeron de 5 aŭ 6 ciferoj kaj per tio movas la elektilojn en la centralo.
La rolo, kiun plenumas la disko, konsistas el tio, ke ĝi interrompas la fluon el la centra baterio al la mikrofono tiom da fojoj, kiom respondas al la transmetata cifero. Tiuj fluinterrompoj kaŭzas en la centralo tiom da movoj de relajsoj, kiuj siavice movas ŝaltilojn de speciala konstruo. Tiuj ŝaltiloj, aŭ pli bone dirite, elektiloj formas la kernon de ĉiu aŭtomata sistemo.
La ideo de la originala elektilo de Strowger estas la jena: La linio de ĉiu aboninto estas reprezentata de tri kontaktoj, du por la parolado kaj unu por la testado kaj aliaj celoj. Tiuj kontaktoj estas kunigitaj en cilindroforma kontaktaro, en kies akso troviĝas stango kun tri kontaktbrakoj. La cent linioj, kiuj apartenas al unu elektilo, estas ordigitaj en dek tavoloj, ĉiuj de dek linioj, unu super la alia. Per elektromagneto la stango povas levi sin dek paŝojn, kaj per alia elektromagneto ĝi povas turni sin dek paŝojn. Tiel ĉiu linio povas esti atingata de la kontaktbrakoj. La magnetoj funkcias sub la influo de la fluinterrompoj de la disko sur la aparato de la aboninto.
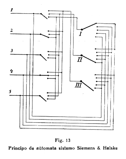
La elektilo de Strowger estas pliperfektigita kaj tre disvastigita de diversaj firmoj, inter aliaj de la konata firmo Siemens & Halske. La elektiloj estas tre multekostaj aparatoj, kaj oni do devas apliki ĉiujn rimedojn, kiuj ebligas malpliigi la nombron da bezonataj elektiloj. Por tiu celo oni faris tre komplikajn kalkulojn en la tereno de la matematiko de la probabloj, por eltrovi, kiom da elektiloj oni bezonas por servi certan nombron da abonintoj. Oni do aplikis la sistemon, ke ne ĉiu aboninto bezonas apartan elektilon, kiu estas ĉiam je lia dispono, sed oni trovis, ke ekzemple el 100 abonintoj neniam pli ol 10 parolas samtempe, kaj do la 100 abonintoj povas kontentiĝi per 10 elektiloj.
En la sistemo de Siemens & Halske la meĥanismo nun funkcias proksimume jenmaniere: Ĉiu aboninto havas je sia dispono en la centralo malgrandan antaŭelektilon, kiu estas daŭre konektita kun lia linio. Tiu antaŭelektilo povas fari nur turnantan movon, kaj tial ĝi estas multe malpli kosta ol la grandaj elektiloj. Turnante sin, la antaŭelektilo povas okupi dek diversajn poziciojn kaj en ĉiu pozicio ĝi konektas la linion de la aboninto al alia granda elektilo. Kiam la aboninto levas la telefonilon de la hoko, la antaŭelektilo ekturniĝas aŭtomate kaj serĉas konekton al elektilo, kiu estas en tiu momento libera. Nur atinginte la vojon al tia libera elektilo, la antaŭelektilo haltas. Estas entute 100 abonintoj, kies antaŭelektiloj devas elekti el la sama grupo de 10 elektiloj. La ideo estas skeme montrata de la figuro 13. Oni devas nur atenti, ke la linioj de la abonintoj estas desegnitaj nur per unu streko, kaj ke ankaŭ la grandaj elektiloj estas desegnitaj tiel, kvazaŭ ankaŭ ili povus fari nur turnantan movon. Ankaŭ la nombroj estas malpli grandaj ol en la praktiko. Maldekstre alvenas kvin linioj de abonintoj, kiuj ĉiuj havas sian antaŭelektilon. La antaŭelektiloj havas la elekton inter tri grandaj elektiloj. La abonintoj 1, 3 kaj 5 ne telefonas, do iliaj antaŭelektiloj estas en la ripoza pozicio. La aboninto 2 levis la telefonilon, kaj lia antaŭelektilo elektis la unuan elektilon, indikitan per I. La aboninto 4 ankaŭ deprenis la telefonilon de la hoko, sed lia antaŭelektilo trovis la unuan elektilon okupita, kaj ĝi do preterpasis ĝin kaj elektis la elektilon II. La abonintoj nun turnas la diskojn kaj relasas ilin, tiel ke la mikrofona fluo estas interrompata kelkfoje. Laŭ la figuro ni vidas, ke la aboninto 2 elektis la ciferon 5, tiel ke la elektilo faris kvin paŝojn. La elektilo II faris nur unu paŝon, do la aboninto 4 elektis la ciferon 1. Oni do vidas, ke la aboninto 2 vokas la aboninton 5 kaj ke same 4 vokas 1.

En la praktiko kun la pli grandaj nombroj da abonintoj kaj kun la ŝaltiloj, kiuj povas levi kaj turni sin, la afero estas iom pli komplika. Se ekzemple la aboninto elektas la ciferon 5, la elektiloj supreniras kvin paŝojn. Atinginte la kvinan ŝtupon, la elektilo komencas aŭtomate turni sin, kej tiel ĝi serĉas liberan linion al elektilo de dua speco, kiu laŭ principo estas egala al la unua elektilo, sed kiu servas por la elekto de la dua cifero de la numero. Oni nomas la unuan elektilon la unua grupelektilo kaj la alian dua grupelektilo. Se la numero havas kvin ciferojn, la unua grupelektilo elektas la ciferon de la dekmiloj. La dua grupelektilo elektas la ciferon de la miloj, kaj sammaniere la tria grupelektilo elektas la ciferon de la centoj. La lasta elektilo nomiĝas linioelektilo aŭ finelektilo, kaj ĝi estas iom diferenca de la grupelektiloj. Ĝi nome ne plu bezonas turni sin aŭtomate en horizontala direkto. Paŝante supren, ĝi elektas la dekojn, kaj fine turnante sin, ĝi elektas la unuojn. Tiamaniere konekto estas farata tra la diversaj elektiloj ĝis al la linio de la dezirata aboninto. Cetere la aranĝo estas tiel, ke se la elektata linio jam estas okupita, la konekto ne povas esti farata, sed la elektiloj tuj refalas en siajn komencajn poziciojn. Samtempe la vokanta aboninto aŭdas en sia telefonilo interrompitan zumantan signalon, kiu anstataŭas la komunikon de la telefonistino, ke la linio estas okupita. Se kontraŭe la linio estas libera, la vokata aparato estas sonorigata aŭtomate, dum ke samtempe la vokanto aŭdas signalon, per kiu li povas kontroli, ke la sonorigado estas ripetata en regulaj periodoj de dek sekundoj. Tuj kiam la alvokito levas la telefonon de la hoko, la sonorigado aŭtomate ĉesas. La du abonintoj tiam povas interparoli. Post la fino de la interparolado la du abonintoj remetas la telefonilojn sur la hokojn, kaj per tio ili rompas la konekton, tio estas, ĉiuj elektiloj refalas en siajn komencajn poziciojn.
Al ĉiu elektilo apartenas aro da relajsoj, kiuj estas kunigitaj sur komuna plato, kiu en okazo de bezono povas esti facile anstataŭata. Kun la relajsoj estas kombinita ankaŭ speciala ŝaltilo, kiu aŭtomate transiras en aliajn poziciojn kaj kiu kvazaŭ plenumas la rolon de tuta serio da relajsoj. La elektiloj estas muntitaj sur feraj trabaroj aŭ kradoj, sur kiuj la samspecaj aparatoj estas kunigitaj. La centraloj enhavas multajn tiajn kradojn.
La aŭtomata sistemo kun la disko postulas de la abonintoj iom da lerteco en la manipulado, kaj tio estas la kaŭzo, pro kiu multaj administracioj hezitis enkonduki la aŭtomatan sistemon por anstataŭigi la mansistemon. Alia kaŭzo de kontraŭstaro kontraŭ la sistemo estis la fakto, ke la ŝanĝo aŭ anstataŭigo de la telefonaj aparatoj ĉe la abonintoj postulas grandajn elspezojn. Pro tio oni enkondukis sistemon, kiu estas kvazaŭ mezaĵo inter aŭtomata kaj mansistemo kaj kiu tial estas nomata duonaŭtomata sistemo. La maŝinoj en la centraloj estas la samaj, sed la aboninto ne havas diskon sur sia aparato, sed li komunikas la deziratan numeron al telefonistino, kiu per la premo de puŝiloj funkciigas la aŭtomatajn elektilojn. La aboninto do konservas sian saman aparaton, kiun li uzis por la mansistemo. Tiamaniere oni tamen havas la avantaĝojn de la aŭtomata sistemo, kaj la nombro da telefonistinoj estas multe malpli granda ol en mancentraloj.
En la lasta tempo, precipe dum kaj post la milito, la demando pri la ĉiujare pagataj salajroj estigis tiel premanta, ke oni multe pli transiris al la tielnomata plen-aŭtomata sistemo.
Flanke de la Strowger-sistemo aperis antaŭ dudeko da jaroj alia sistemo, ellaborita de Western Electric Company, kiu en multaj rilatoj enhavis novajn ideojn kaj estis diferenca de la priskribita sistemo.
Grava punkto estas la fakto, ke en tiu ĉi sistemo la elektiloj ne estas turnataj de elektromagnetoj, sed de elektromotoroj. La kradoj, kiuj portas la elektilojn, relajsajn ktp., ankaŭ portas serion de aksoj, kiuj konstante estas turnataj de motoroj. La elektiloj povas esti kuplataj al tiu ĉiam turniĝanta aksosistemo, kiam ili devas turni sin. La kuplaĵo estas frota kuplaĵo, aŭ ĉe la pli novaj ŝaltiloj dentrada, kiuj ekfunkcias pere de elektromagneto.
La Western Electric-sistemo distingas sin ankaŭ per tio, ke ĝi enhavas du specojn de elektiloj, kiuj kvazaŭ reprezentas la du ŝtopilojn de la telefonistinoj. Unu, la serĉilo, servas por serĉi la linion, kiu vokas, la dua, la vera elektilo, serĉas la deziratan numeron. La serĉilo do korespondas al la ŝtopilo, per kiu la telefonistino respondas alvokon. La elektilo kontraŭe korespondas al la dua ŝtopilo, per kiu ŝi faras la konekton en la multipla ĵakaro. Unu serĉilo kaj unu elektilo formas kune tielnomatan konektan cirkviton, kiu do korespondas al la ŝnuro kun du ŝtopiloj, uzata de la telefonistino.

La figuro 14. skize klarigas tiun ĉi sistemon. En tiu ĉi figuro estas montrite, ke sep linioj de abonintoj estas ligataj al la kontaktoj de tri serĉiloj LZ. Kiam unu el la abonintoj deprenas la telefonilon de la hoko, ĉiuj el tiuj tri serĉiloj, kiuj estas liberaj, turniĝas kaj serĉas la vokantan linion. La serĉilo, kiu unue atingas tiun linion, okupas ĝin, kaj la aliaj turniĝantaj serĉiloj ankaŭ haltas. La serĉiloj ne havas komencan pozicion: ili restas, kie ili lastfoje funkciis. La ŝanco, ke vokanta linio estas tuj kaptata de apude staranta serĉilo, do estas tre granda. Kiam la linio de la aboninto estas kaptata de serĉilo, la tuta konekta cirkvito, al kiu tiu ĉi serĉilo apartenas, estas je la dispono de la aboninto, kiu komencas turni la diskon sur sia aparato. En la figuro tio estas indikita per la fermo de la ŝaltilo inter la serĉilo kaj la elektilo. La dua kaj la tria konektaj cirkvitoj do estas okupataj; la unua estas libera. La elektiloj LK nun estas movataj sub la influo de la turniĝanta disko en analoga maniero kiel en la sistemo de Strowger.
En la praktiko la nombro de la linioj, ligitaj al unu serĉilo aŭ elektilo, kompreneble estas alia ol en la figuro. La serĉiloj havas kontaktaron, kiu enhavas 60 kontaktojn. Tia serĉilo estas montrata en la figuro 15. La horizontala akso ĉiam turniĝas pere de la maldekstre videbla dentrado kaj kun ĝi la disko, kiu estas videbla dekstre de la elektromagneto. Kiam tiu elektromagneto altiras la flekseblan grandan horizontalan diskon, la tuta serĉilo estas kunprenata.

La elektiloj, kies specimenon montras la figuro 16., havas ne malpli ol 200 kontaktojn. Tio komprenigas, ke ne estas eble, ke la sama decimala sistemo estu uzata kiel en la sistemo de Stowger. La Western Electric-sistemo estas tiurilate multe pli komplika. La impulsoj, kaŭzataj de la interrompoj de la fluo en la aparato per la disko, ne tuj movas la elektilojn, sed ili estas registrataj de aro da ŝaltiloj, kiujn oni nomas pro tio registro. La registro kvazaŭ tradukas la impulsojn de la decimala sistemo kaj ŝanĝas ilin en formon, en kiu ili povas movi la elektilojn.

La sistemo ankaŭ enhavas specialan aparaton, kiu estas simila al la apartaj ŝaltiloj de la registroj, kaj kiujn oni nomas reguliloj. Ili anstataŭas grandan aron da relajsoj. La temo estas tro teknika por eniri en pliajn detalojn.
Ankaŭ en la Western Electric-sistemo oni diferencigas la plene kaj la duone aŭtomatan sistemon.
Laŭ la konstruo la elektiloj de la Western Electric-sistemo estas tre diferencaj de la Strowger-elektiloj. Ili ne havas la leviĝantan movon, sed nur la turniĝantan, kaj ili ne refalas al la komenca pozicio, sed ĉiam turniĝas en la sama direkto. Tamen ili elektas en vertikala kaj en horizontala direkto. La elekto en vertikala direkto okazas jenmaniere: La turniĝanta parto de la elektilo. (figuro 16.), la tielnomata brosoportilo, portas serion de 30 brosoj, unu super la alia. Tri brosoj apartenas al unu linio, do la 30 brosoj reprezentas 10 liniajn. La brosoj estas retenataj de malgrandaj hokoj, kiuj malhelpas, ke la brosoj tuŝu la kontaktojn, kiam la brosoportilo rondiras. Sed flanke de la brosoportilo troviĝas vertikala akseto kun hoketoj, kiu antaŭe estas turnata en tian pozicion, ke unu el la hoketoj levas unu hokon sur la brosoportilo, kiam tiu ĉi lasta ekturniĝas kaj preterpasas la akseton. Tial oni nomas la akseton la brosoliberigilo. Ĝi do liberigas nur unu trion de la brosoj, apartenantaj al unu linio, kaj tio estas la sama, kvazaŭ unu horizontala serio de linioj estus elektata. La elekto en horizontala direkto okazas en analoga maniero, kiel ĉe la Strowger-elektilo, tio estas per la turno de la brosoportilo, ĝis kiam la dezirita numero estas atingita.
Ekzistas ankoraŭ diversaj aliaj sistemoj de aŭtomata telefonio, kiuj estas pli aŭ malpli diferencaj de la jam priskribitaj sistemoj. Inter ili estas menciinda la sistemo de Ericsson, kiu ekzistas nur de kelkaj jaroj. Laŭ la principoj ĝi havas multajn aferojn komunaj kun la sistemo de Western Electric Company, sed laŭ la vidpunkto de konstruo ĝi estas tute diferenca.
La aŭtomataj telefoniloj ankaŭ jam enpenetris en la terenon de la telefonoj en grandaj konstruaĵoj, oficejoj ktp., la tielnomataj privataj telefonsistemoj. Estas multaj fabrikoj, kiuj nuntempe produktas kun pli aŭ malpli da sukceso tiajn aŭtomatajn telefonaparatojn, kiuj ĉiam pli anstataŭas la per la manoj funkciigatajn sistemojn. La aŭtomataj sistemoj jam perfektiĝis en tia grado, ke oni preskaŭ atendas, ke post ioma tempo ĉiuj telefonistinoj estos anstataŭigitaj per maŝinoj. Tamen ekzistas kaŭzoj, pro kiuj tiu timo aŭ espero verŝajne ne tre baldaŭ realiĝos. Estas diversaj okazoj, en kiuj oni ne facile povos malhavi la intervenon de la homa intelekto kaj kie do la mansistemoj ankoraŭ havas la preferon super la aŭtomataj. Tio estas la okazo unue por la specialaj centraloj, kiuj prizorgas la konektojn inter abonintoj en diversaj urboj kaj kiujn oni pro tio nomas interurbaj centraloj. La interurbaj konektaj estas ordinare pagataj aparte, kaj pro tio oni ne tuj donas la konekton, sed la alvokinto estas revokata post iom da tempo, kiam la bezonata interurba linio estas libera. Tio kaj la kontrolo de la daŭro de la interparoloj igas la intervenon de telefonistino necesa.
Dua okazo, kie oni ĝis nun ne volonte malhavas la telefonistinon, estas tiu de la pritrakto de la konektoj de urba centralo al privata centralo en oficejo aŭ granda magazeno. Se en tia privata sistemo alvenas voko de aboninto en la urbo, estas dezirinde, ke tiu konekto estu kompletigata de telefonistino, kiu konas la internan organizon de la oficejo kaj do povas transdoni ĝin al la taŭga persono.
Flanke de tiuj esceptoj, kies kaŭzoj verdire ne troviĝas en la aŭtomata sistemo mem, oni povas diri, ke tiu ĉi lasta montras preskaŭ nelimigitajn eblecojn. Sendube ĝi apartenas al la plej admirindaj elpensaĵoj de la moderna tekniko.
La telegrafio kaj la telefonio jam estis evoluintaj unu flanke de la alia dum multaj jaroj, kiam la mondkonataj eksperimentoj de Marconi en 1895 antaŭdiris la eblecon de telegrafio laŭ tute nova sistemo, tio estas sen la helpo de kondukantaj fadenoj, ligantaj la sendantan stacion al la ricevanta. Tiu nova telegrafarto, kiun oni nomis pro tio la senfadena telegrafio, disvolviĝis en la unuaj jaroj de la dudeka jarcento en plej miriga maniero. Ĉiam pli grandaj fariĝis la distancoj, kiujn oni povis superi, kaj baldaŭ reto de senfadenaj konektoj kovris preskaŭ la tutan teron.
Ne estas mirige, ke jam de la komenco de la evoluo de la senfadena telegrafio oni demandis al si, ĉu flanke de tiu telegrafio ne estus ankaŭ eble, havi telefonion bazitan sur la samaj principoj. La afero renkontis multan intereson, ĉar la senperaj rilatoj per la homa voĉo havas multajn avantaĝojn super la telegrafado per la Morse-signaloj, kies uzo postulas sufiĉe multe da lerteco kaj sperto por la sendado kaj por la ricevado. Sed aliflanke oni baldaŭ komprenis, kiajn malfacilaĵojn oni devus venki por vere efektivigi la senfadenan telefonion. Por bone kompreni tion, ni devas rigardi iom pli detale la esencon de la senfadena telegrafio.
La ondoj, kiujn elsendas la stacioj por senfadena aŭ radio-telegrafio, estas laŭprincipe samspecaj kun la lumaj radioj. Ili estas tielnomataj elektromagnetaj ondoj, kiuj konsistas el tre rapidaj varioj de la elektraj kaj magnetaj ecoj de la medio, tra kiu ili propagiĝas kaj kiun oni ofte nomas la etero. Tiuj varioj de la elektromagneta spaco aŭ kampo, aŭ vibradoj de la etero, estas kaŭzataj de rapide alternantaj fluoj en la antenoj de la sendstacioj. La elsenditaj ondoj havas la saman frekvencon aŭ nombron da varioj en la sekundo kiel tiuj fluoj en la anteno, kaj ili disradias el tiu anteno en la spacon per la rapideco de la lumo. Tiu rapideco, kiu estas konstanta, estas 300 000 kilometroj dum sekundo. Komparante diversajn ondojn, oni kutime uzas la ideon de la ondlongeco. Al tiu ideo oni venas jene: Kiel jam dirite, la vibradoj okazas kun certa frekvenco, tio estas, ili trairas certan nombron da kompletaj periodoj dum sekundo. Se la vibradoj havas frekvencon de ekzemple 300 000, tio volas diri, ke la eteraj vibradoj trairas 300 000 kompletajn periodojn dum sekundo. Dum unu sekundo la vibradoj propagiĝas je distanco de 300 000 kilometroj, do en la daŭro de unu kompleta periodo de la vibrado ili propagiĝas en distanco de unu kilometro. Tiu distanco, kiun la ondoj trairas dum unu periodo de la vibradoj, nomiĝas la ondolongeco. Oni facile komprenas, ke la ondlongeco dependas nur de la frekvenco, el kiu ĝi tuj povas esti kalkulata. Se ekzemple la frekvenco estas duoble pli alta, do 600 000, la ondlongeco estas la duono, do 500 metroj. La diferenco inter la ondoj, uzataj en la senfadena telegrafio, kaj la lumaj ondoj konsistas ĉefe el tio, ke la lumaj ondoj havas multe pli malgrandan ondlongecon, kiu estas mezurata eĉ en milonoj da milimetroj.
La elektromagnetaj ondoj, kiujn oni uzis en la unuaj jaroj, havis ankoraŭ alian karakterizan econ, kiu konsistas el tio, ke ili estis amortizitaj. Amortizitaj vibradoj estas vibradoj, kies amplitudo laŭgrade malgrandiĝas, tiel ke post certa nombro da vibradoj ili tute malfortiĝas kaj malaperas. Tiajn amortizitajn ondojn oni povas konstante elsendi nur, se oni ĉiam denove komencas per forta vibrado, kiu post iom da periodoj formortas. Tio ja okazis en la malnovaj aparatoj, kaj la tuta metodo estis en akordo kun la maniero, laŭ kiu la vibradoj estis produktataj en la antenoj. La origino de la vibradoj estis en rapida sinsekvo de fajreroj aŭ sparkoj, kaŭzataj de senŝarĝiĝoj de kondensatoro. La sparkoj sekvis unu post la alia, ekzemple kun interspaco de unu kvincentona sekundo, kaj oni tial diras, ke la sparko havas sparkfrekvencon de 500.
Estas konata fakto, ke nuntempe la signaloj de la senfadena telegrafio estas ordinare ricevataj per telefono. Kion vi aŭdas per tia telefono? La frekvenco de la vibradoj mem estas multe tro alta, por esti aŭdebla en telefono. La membrano de telefono, kiu reproduktas la aervibradojn, kiujn ni aŭdas, nepre ne povas vibri je 300 000 periodoj dum sekundo, kaj eĉ se ĝi povus, nia orelo ne povus kapti tiajn altajn sonojn. Ili estus tute neaŭdeblaj por ni. Tio, kion ni aŭdas, aŭskultante la radio-signalojn, do ne estas la frekvenco de la ondoj mem, sed la sparkfrekvenco, kiu estas en la regiano de la bone aŭdeblaj sonoj.
Longtempe oni povis produkti nur la amortizitajn ondojn, kiuj do havis certan sparkfrekvencon. Pro tiu sparkfrekvenco ili estis tute taŭgaj por la senfadena telegrafio, sed por la telefonio ili male tute ne taŭgis. Se oni volus telefoni per tiaj amortizitaj ondoj, oni ĉiam aŭdus la sonon de la sparkfrekvenco, kiu malebligus la komprenon de la paralata vorto. La telefonio do nepre postulis la efektivigon de alispecaj ondoj, nome de la ne amortizitaj ondoj. Tiuj ne amortizitaj ondoj do devas esti tiaj, ke ili ĉiam havas la saman amplitudon kaj estas konstante elsendataj dum la tuta tempo, kiam la sendstacio funkcias.
La ne amortizitaj ondoj dum multaj jaroj staris antaŭ la okuloj de la radio-teknikistoj kiel idealo atingota por la efektivigo de la senfadena telefonio. Post kiam la problemo de la ne amortizitaj ondoj estis plene solvita, ankaŭ la senfadena telefonio trovis naturan solvon.
Ekzistas ĉefe tri metodoj, laŭ kiuj oni povas produkti ne amortizitajn ondojn, nome tiujn de la elektra arklampo, de la altfrekvenca maŝino kaj de la trielektrodaj lampoj. La lasta metodo havas la plej grandan signifon por la senfadena telefonio, kaj ni do ekskluzive okupos nin pri tiu ĉi metodo.
La eltrovo de la trielektroda lampo kaŭzis veran revolucion en la tuta radiotekniko, kaj oni nur al ĝi dankas la grandegan evoluon de la radio en la lastaj jaroj.
La trielektroda lampo jam estis antaŭita de la duelektroda lampo, kiu estas uzata por iom alia cela. Ni komencas per ĝia priskribo, ĉar ĝi estas pli simpla al tiu de la trielektroda lampo. Oni imagu senaerigitan vitran balonon, en kiu troviĝas metala fadeno, kiel en la ordinaraj elektraj lampoj, kiun oni povas ardigi per la trasendo de elektra fluo. Tia ardanta fadeno en vakuo elsendas erojn da negativa elektro, kiujn oni nomas elektronoj. Tiuj elektronoj jam estis antaŭe zorge studataj, kaj oni trovis ekzemple, ke la dimensioj de tiaj elektroj estas ĉirkaŭ 10-13 centimetroj. La maso de elektrono estas 1/1800 de la maso de atomo de hidrogeno, kaj ĝi do estas proksimume 0,61 x 10-27 gramoj. Oni povas facile pruvi, ke la ardanta fadeno elsendas fluon da negativa elektro, se oni metas en la saman balonon duan elektrodon, konsistantan el metala plato. Se oni konektas tiun platon al la pozitiva poluso de baterio kaj la negativan poluson de la sama baterio al la ardanta fadeno, oni trovas, ke la baterio sendas fluon tra la malplena spaco inter la du elektrodoj. Se la fadeno ne ardas, oni rimarkas, ke la fluo tra la vakuo ne ekzistas. Interŝanĝinte la du polusojn de la baterio, oni rimarkas, ke la fluo ne povas ekzisti en la alia direkto, pro tio, ke la ardanta fadeno povas elsendi nur negativajn elektronojn.
Ni do trovas, ke la duelektroda lampo povas tralasi elektran fluon en nur unu direkto, kaj ĝi do povas esti uzata por unudirektigi alternan elektran fluon. Por tio oni vere uzas tiun ĉi tipon de lampoj kun multe da sukceso.
Studante la duelektrodan lampon, oni konstatas, ke la forteco de la tralasata fluo dependas de la temperaturo de la ardanta fadeno, sed ankaŭ de la elektra tensio de la baterio, konektita al la du elektrodoj. Ju pli alta estas la temperaturo, des pli multe da elektronoj estas elsendataj, sed se oni tenas la temperaturon konstanta, oni rimarkas, ke la fluo pligrandiĝas, kiam oni plialtigas la tension de la baterio. Tamen, se oni plialtigas la tension super certa limo, oni ne observas pligrandiĝon de la fluo, pro tio, ke la ardanta fadeno ne povas produkti pli da elektronoj, kaj ĉar tiuj ĉi estas ĉiuj forsuĉataj de la pozitiva elektrodo. Oni diras tiam, ke la fluo estas satigita.
Oni nomas la ardantan fadenon, kiu estas konektata al la negativa poluso de la baterio, la katodo de la lampo kaj la pozitivan platon la anodo.
La lampo ekhavas tute novajn ecojn, se oni aldonas al ĝi trian elektrodon. Tiu tria elektrodo ne estas masiva plato, sed ĝi havas la karakteron de krado kun larĝaj maŝoj. Estas multaj lampoj, en kiuj la katodo estas rekta fadeno; la tria elektrodo estas helico, kiu ĉirkaŭas ĝin, kaj la anodo tiam estas cilindra plato, kiu siavice ĉirkaŭas la helicon. Ĉiuokaze oni nomas la trian elektrodon, kiu ĉiam troviĝas inter la katado kaj la anodo, la krado.

La figuro 17. montras la principan ŝaltmanieron de la trielektroda lampo. B1 estas la baterio, kiu hejtas la katodon K; B2 estas la baterio, kiu subtenas la tension inter la katodo kaj la anodo. Inter la katodo kaj la anodo troviĝas la krado R. La elektronoj, kiuj forlasas la katodon, grandparte penetras tra la maŝoj de la krado kaj povas tiamaniere atingi la pozitivan anodon, kiu altiras ilin. Oni observas, ke la forteco de la fluo inter la katodo kaj la anodo estas tre multe influata de la tensio de la krado rilate al la katodo. Ni jam vidis, ke tiu fluo estas influata de la tensio inter la anado kaj la katodo, sed evidentiĝas, ke la tensio de la krado havas multe pli grandan influon ol tiu de la anodo. Oni facile komprenas tion, kiam oni pripensas, ke se la krado estas negativa rilate al la katodo, ĝi repuŝas la negativajn elektronojn, dum ke pozitiva krado subtenas la altiran forton de la anodo. El tio sekvas ankaŭ, ke malgrandaj varioj de la tensio de la krado relative multe variigas la fluon al la anodo. Tiu eco estas esenca por la trielektroda lampo. Ĝi signifas, ke la lampo povas pligrandigi la amplitudon de elektraj vibradoj aŭ alternaj fluoj kaj ke ĝi do funkcias kiel plifortigilo de fluoj aŭ amplifilo. Grava estas la fakto, ke la lampo plifortigas aŭ amplifas la fluojn tute proporcie, tio estas, ke la plifortigitaj fluoj estas ĉiumomente tute proporciaj al la plifortigotaj fluoj. Tio signifas, ke la alternaj fluoj ne estas aliformigataj de la lampo, kio estas tre grava por la reprodukto de vibradoj, kiuj reprezentas la voĉon.
La proporcieco de la amplifitaj kaj amplifotaj fluoj ekzistas nur sub certaj kondiĉoj, dependantaj de la tensio de la krado. Plialtigante la negativan tension de la krado, oni trovas, ke male la proporcieco malaperas, kaj ke eĉ se la tensio de la krado varias en tiu regiono, nur la varioj en unu direkto estas reproduktataj de la varioj en la fluo al la anodo. En tiu okazo la lampo do ĉefe funkcias kiel samdirektilo por alternaj fluoj, ĉar ĝi kvazaŭ tralasas la fluon nur en unu direkto. Tiu eco de la trielektroda lampo igas ĝin tre taŭga, por esti uzata en la ricevaparatoj kiel tielnomata detektoro, same kiel ekzemple mufte da kristaloj povas funkcii. En rilato kun la samdirektigo de fluoj pere de la lampo oni nomas tiun ĉi lastan ankaŭ valvo.

Estas ankoraŭ tria tre grava maniero, uzi la trielektrodan lampon. La koncerna metodo estas bazita sur la amplifo. Kiam oni konektas la trielektrodan lampon laŭ la skemo, montrita en figuro 18., ĝi povas naski ne amortizitajn elektrajn vibradojn, kaj oni tial diras, ke ĝi funkcias kiel generatoro de ne amortizitaj vibradoj aŭ ondoj. La teorio de tiu ĉi generatoro estas la jena: la kondensatoro C kaj la memindukto L kun la bobenoj de la du transformatoroj T1 kaj T2 formas elektran cirkviton, kiu en la konata maniero povas fari elektrajn vibradojn aŭ oscilojn. Oni imagu, ke pro ia kaŭzo tre malforta oscilo estu naskata en la nomita cirkvito. Per la transformatoro T1 tiuj osciloj influas la tensian diferencon inter la katodo kaj la krado de la lampo. La lampo funkcias kiel amplifilo, do la konsekvenco estas, ke en la cirkvito, formata de la katodo, la anodo kaj la baterio Ba, naskiĝas iom plifortigitaj osciloj. En kelkaj okazoj oni aldonas kondensatoron C1, paralele al la baterio, por doni pli facilan vojon al la osciloj, ol la baterio povas proponi. Oni vidas, ke la laste nomita cirkvito entenas ankaŭ la primarion de la dua transformatoro T2, kies sekundario estas parto de la oscilanta cirkvito. En tiu ĉi okazo oni diras, ke la anoda cirkvito de la lampo estas reakcie kuplita al la origina oscila cirkvito. La sekvo estas, ke la iom plifortigitaj osciloj denove influas la unuan cirkviton, kie ili do plifortigas la originan vibradon. Tiu ĉi lasta siavice pli forte influas la tensian diferencon inter la katodo kaj la krado, kaj tiuj pli fortaj osciloj do denove estas plifortigataj. Oni facile komprenas, ke per tia cikla procedo daŭrantaj, sufiĉe fortaj vibradoj estas naskataj. La amplitudo de la vibradoj ne kreskas senlime pro tio, ke ankaŭ la perdoj kreskas, kaj oni do atingas ekvilibran staton, kie la anoda baterio liveras tiom da energio, kiom estas konsumata de la perdoj. Pro tio la ondoj estas ne amortizitaj.
Nia rezonado estas bazita sur la supozo, ke en la oscila cirkvito ekzistas iu origina vibrado. Ĉar tiu vibrado povas esti tre malforta, ĝi ĉiam ĉeestas, se oni aranĝas la kondiĉojn bone.
La produktado de elektraj osciloj pere de la trielektroda lampo estis kaŭzo, ke tiu ĉi lampo trovis multe da aplikoj, tiel por la sendaj kiel por la ricevaj aparatoj. La granda plimulto de la aparatoj, nuntempe uzataj por la elsendo de Radio-telefonio, estas bazitaj sur la lampo kiel generatoro.

La figuro 19. montras simplan skemon de sendilo por ne amortizitaj ondoj. Bg estas la baterio, kiu hejtas la katodon de la lampo. Se en la bobeno S1 malforta elektra oscilo naskiĝis, tiu ĉi influas la tensian diferencon inter la katodo kaj la krado. Tiuj osciloj estas amplifataj en la lampo, kaj do ekzistas pli fortaj osciloj en la cirkvito de la anodo, la baterio Ba kaj la kondensatoro C, la bobeno S2 kaj la katodo. Kiel oni vidas, la bobeno S2 estas reakcie kuplita kun la bobeno S1, kaj do ĉiuj kondiĉoj por la naskiĝo de ne amortizitaj vibradoj ĉeestas. Tiuj vibradoj estas transdonataj al la cirkvito de la anteno, kiu do elradias ne amortizitajn ondojn.
La ne amortizitaj ondoj ankaŭ povas esti uzataj por la telegrafado. Por tiu celo oni aranĝas la aparatojn tiamaniere, ke dum la tempdaŭro de la punktoj kaj strekoj de la Morse-alfabeto la ne amortizitaj ondoj estas elsendataj kaj ne dum la ripozaj periodoj inter la elementoj de la literoj. Por la senfadena telefonio la cirkonstancoj estas iom diferencaj. Kiel oni scias, la kurbo, kiu reprezentas la sonon de la homa voĉo, estas sufiĉe komplika kaj ŝajne ne regula. Tamen oni rekonas la periodecon, precipe en la vokaloj. Oni imagu, ke la kurbo "a" en la figuro 20. reprezentu parton de homa parolo. La frekvenco, kiun oni rimarkas en tiu kurbo, estas tiu, kiu karakterizas la altecon de la sono de la voĉo. Per tiaj vibradoj oni devas influi la ne amortizitajn aŭ kontinuajn ondojn, kiuj estas elsendataj de la sendstacio por Radiotelefonio. Tiu influo konsistas el tio, ke la vibradoj ŝanĝas la fortecon, do la amplitudon de la ondoj. Tio estas montrita en la kurbo "b" de la figuro 20. La frekvenco de la ne amortizitaj ondoj estas evidente multe pli alta al tiu de la homa voĉo, kaj ĝi restas konstanta. Sed samtempe la amplitudo de la vibradoj varias laŭ la formo de la supra kurbo. La elsenditaj ondoj de la sendstacio estas ricevataj de iu ricevaparato, kaj la vibradoj, kiuj naskiĝas en la cirkvitoj de la ricevilo, estas tute konformaj al la elsenditaj ondoj. Nur la forteco estas multe pli malgranda. La kurbo "c" donas imagon pri tiu ricevita vibrado.

En la ricevaparato troviĝas la organo, nomata detektoro, kiu tralasas nur vibradojn en unu direkto, kiu do, kiel oni diras, samdirektas la ricevitan fluon. Tiu samdirektita fluo influas la membranon de telefono. Tiu ĉi lasta ne povas sekvi la altfrekvencajn vibradojn de la ne amortizitaj ondoj, sed ĝi moviĝas laŭ la ritmo de la variadoj en la amplitudo, do en kurbo simila al la kurbo "d". Tiu ĉi kurbo evidente estas precize konforma al la origina kurbo "a".
La ĉi supre dirita estas en kelkaj linioj la esenco de la transmisio en la Radiotelefonio. Ni nun rigardos iom pli precize la detalojn.
Ni jam vidis, kiel per skemo, montrita en figuro 19., oni povas produkti ne amortizitajn ondojn. Tiuj ondoj devas esti influataj de la vibradoj de la voĉo. La procedo, kiu servas al tio, estas nomata la modulado de la kontinuaj ondoj: la voĉo modulas la altfrekvencajn, vibradojn. Tiu modulado povas okazi laŭ la simpla metodo, kiu estas montrata en la figuro 19. Oni parolas kontraŭ la mikrofono M, kiu estas entenata en la cirkvito de la baterio Bm kaj de la primario de la transformatoro T. La naskitaj alternaj fluoj influas la tensian difdrencon inter la katodo kaj la krado de la sendlampo, kaj tiamaniere ili variigas la amplitudon de la ondoj. La montrita skemo estas la plej simpla. Oni en la praktiko pliperfektigas ĝin per la aldono de aliaj lampoj, kiuj plifortigas la fluon de la mikrofono, antaŭ ol tiu ĉi lasta influas la sendlampon.
En la ricevaparatoj la trielaktroda lampo jam delonge ludas tre gravan rolon. Nuntempe ĉiuj iom pli sentemaj aparatoj enhavas unu aŭ pli da lampoj. Kiel ni jam rimarkigis, la lampo povas servi kiel detektoro aŭ samdirektilo same kiel la kristaldetektoro. Krom tio oni uzas la lampojn simple kiel amplifilojn aŭ plifortigilojn de la malfortaj ondoj, naskitaj en la antenoj de la ricevaparatoj per la alvenantaj elektromagnetaj ondoj. Oni en tiu rilato diferencigas du formojn de la amplifado, nome la altfrekvencan kaj la malaltfrekvencan amplifadon. Kiel ni jam rimarkigis ĉi supre, la detektoro havas la rolon, samdirekti la altfrekvencajn vibradojn, kiuj estas senpere ricevataj. Per tio ĝi ebligas, ke reaperas la malaltfrekvencaj vibradoj, el kiuj konsistas la sonoj de la voĉo mem. Se oni do aplikas trielektrodan lampon, kiu plifortigas la vibradojn antaŭ kiam ili trapasis la detektoron, ĝi amplifas la altfrekvencajn vibradojn kaj oni nomas la lampon simple altfrekvenca amplifilo. Se kontraŭe oni aplikas lampon, kiu plifortigas la vibradojn, post kiam ili estas samdirektitaj de la detektora lampo, la plifortigataj vibradoj estas malaltfrekvencaj, kaj oni do en tiu okazo parolas pri malaltfrekvenca amplifilo. Estas kelkaj kondiĉoj, sub kiuj funkcias altfrekvenca lampo, kiuj estas diferencaj de tiuj, sub kiuj la malaltfrekvencaj lampoj estas uzataj, kaj el tio rezultas, ke unu lampo estas pli taŭga por esti uzata kiel altfrekvenca lampo kaj alia por servi en malaltfrekvenca amplifilo.

La figuro 21. montras la skemon de lampo, kiu estas uzata kiel detektoro. Kiel oni vidas, la antena cirkvito estas kuplita kun fermita cirkvito enhavanta la kondensatoron C kaj memindukton. La variantaj tensioj ĉe la du polusoj de la kondensatoro senpere influas la tension inter la katodo kaj la krado de la lampo. Oni nur rimarkas, ke inter la kondensatoro C kaj la krado malgranda kondensatoro Cr estas enŝovita, kiu estas nomata krada kondensatoro. La rolo de tiu ĉi kondensatoro estas la jena: Ĉar la lampo funkcias kiel samdirektilo, ĝi tralasas nur fluojn en unu direkto. La elektronoj fluas de la katodo al la krado, kaj ĉar la rekta vojo al la kondensatoro C estas barita per la kondensatoro Cr, la krado ekhavas ĉiam pligrandiĝantan negativan ŝarĝon, per kiu la unudirektigo estas plibonigata. Tamen oni devas zorgi pri tio, ke la negativa ŝarĝo de la krado ne estiĝu tro granda, ĉar tiaokaze ĝi repuŝus la elektronojn, kaj pro tio oni metis paralele al la krada kondensatoro rezistilon de kelkaj milionoj da omoj, tra kiu la ŝarĝo kvazaŭ forgutiĝas. Oni nomas la koncernan rezistilon forgutiga aŭ krada rezistilo.
La skemo krome montras, ke la tensio de la anoda baterio estas konektata al la anodo tra la telefono, kiu do estas trairata de la plifortigitaj fluoj.

Kiel la trielektroda lampo povas funkcii kiel altfrekvenca amplifilo, estas montrate en la sekvanta skemo figuro 22. Komparante tiun ĉi skemon kun la antaŭa, oni rimarkas, ke ambaŭ estas tre similaj unu al la alia. Nur la krada kondensatoro estas anstataŭita de malgranda baterio Br, konsistanta el kelkaj sekaj elementoj, kiujn oni nomas la krada baterio. La krada baterio zorgas, ke la tensio de la krado estas ĉiam iom negativa rilate al la katodo, kaj pro tio neniu elektrono povas iri al la krado. La tielnomata krada fluo do estas daŭre nula. Sub tiuj kondiĉoj la lampo plej bone funkcias kiel amplifilo, ĉar la anoda fluo varias tute proporcie kun la tensio de la krado. Oni vidas ankaŭ, ke la cirkvito de la anodo estas kuplita al aparta cirkvito kun kristaldetektoro. Kompreneble oni en tiu ĉi okazo povas uzi duan lampon kiel detektoron, sed ni elektis tie ĉi la kristalan detektoron, por ne fari la skemon tro komplika.

Kiel la trielektroda lampo povas funkcii kiel malaltfrekvenca amplifilo, estas videble per la skemo de la figuro 23. Denove ni supozis, por teni la skemon simpla, ke la detektoro estas kristalo. En la loko, kie oni konektas en simpla kristalricevilo la telefonon, konektoj estas faritaj al la primario de kupla transformatoro. La sekundario de tiu ĉi transformatoro estas konekt ita al la katodo kaj al la krado de la lampo, al la lasta tra krada baterio. La lampo do denove funkcias kiel amplifilo, en tiu ĉi okazo kiel malaltfrekvenca.

Ni montras ankoraŭ kvaran skemon en figuro 24., kiu estas tre simila al tiu de figuro 22. Evidente la nura diferenco estas en tio, ke en la nova skemo ekzistas kupla transformato inter la cirkvito kun la kondensatoro C kaj la cirkvito de la anodo. Pro tio la kondiĉoj estas plenumitaj, kiuj ankaŭ ekzistas en la skemo de figuro 18., t. e. la lampo povas funkcii kiel generatoro. Oni nomas tian kupladon reakcia kuplado. Se la kuplado estas forta, la cirkvito naskas ne amortizitajn vibradojn, kaj oni diras, ke la lampo generas. Tamen por la ricevo de telefonio oni devas zorgi, ke la lampo ne generas, ĉar pro interfero kun la tielnomata portanta ondo de la telefonio ekestus sonoj, kiuj konfuzigus la ricevotajn sonojn. Oni do tiel adaptas la reakcian kupladon, ke la lampo precize ne ankoraŭ generas. Tiam oni havas la maksimuman profiton de la reakcio sen la ĝenanta generado. La lampo do en tiu ĉi okazo ne produktas mem vibradojn, sed ĝi tute kompensas la perdojn, kiujn la alvenantaj vibradoj suferas en la cirkvitoj, kaj tiamaniere oni havas pli fortan amplifon, ol kiam oni forlasas la reakcian kupladon.
Ekzistas ankoraŭ multaj aliaj skemoj, en kiuj la trielektrodaj lampoj ludas rolon kiel detektoroj aŭ amplifiloj aŭ eĉ kiel ambaŭ samtempe. Ni devas kontentiĝi pri la ĉi supre cititaj ekzemploj, kiuj klare montris, ke en la moderna senfadena telefonio la lampoj plenumas treege gravajn rolojn.
La trielektrodaj lampoj verdire donas la eblecon, plifortigi la sonojn ĝis kiu ajn grado, kvankam kompreneble por la ripetita amplifo sin prezentas specialaj malfacilaĵoj. Ĉiu scias, ke per specialaj telefonoj aŭ laŭtparoliloj oni povas igi paroladojn aŭ muzikon aŭdeblaj tra tuta ĉambro aŭ ĉambrego.
Ĝis nun la senfadena telefonio disvolviĝis en iom alia direkto ol la ordinara perfadena telefonio. Dum ke la lasta ĉefe servas por la senperaj interrilatoj inter du personoj, kiam ili troviĝas en ia distanco unu de la alia, la radiotelefonio estas ĉefe uzata por sin direkti al granda aro da aŭskultantoj. La disaŭdigo de paroladoj kaj de muziko jam evoluis ĝis tia grado, ke oni povas diri, ke ĝi okupas tre specialan lokon en la socia vivo. Al la radiotelefonio mankas en principo la sekreteco de la perdrata telefonio, almenaŭ oni devus apliki tute specialajn rimedojn, por garantii la sekretecon de radiotelefonaj interparoladoj. Tio sendube estis unu el la kaŭzoj, kiuj donis al la senfadena telefonio tian disvolviĝon en la tereno de la publika disaŭdigo. Tamen ankaŭ por la telefonaj interrilatoj la senfadena telefonio certe povos ankoraŭ ludi tre gravan rolon. Tiurilate oni unue pensas pri la rilatoj al ŝipoj kaj aeroplanoj, kun kiuj telefonio en alia formo ne estas ebla. Por samspecaj korespondaĵoj ankaŭ la senfadena telegrafio havis siajn unuajn sukcesojn.
Por rilatoj al ŝipoj la radiotelefonio promesas tre interesajn eblecojn. Eksperimentoj jam pruvis, ke estas eble, telefoni el iu ajn loko kun surmara ŝipo. Por tiu celo oni aplikas la senfadenan kaj la perfadenan telefonion. Ĉe unu flanko la eksperimentanto parolas per ordinara urba telefonaparato. La telefonaj fluoj estas transportataj per longaj kabloj al la radio-sendstacio en alia urbo, kie ili estas multe plifortigataj, por ke ili povu moduli la elradiatan ondon. Sur la ŝipo la ricevitaj ondoj estas aŭdebligataj per la konataj rimedoj. En sama maniero la sur la ŝipo parolataj vortoj trovas sian vojon en la alia direkto.
Oni ne bezonas esti profeto por antaŭvidi, ke post mezurebla tempo ni havos la eblecon, senpere telefoni inter ĉiuj lokoj sur la tero, sur la maro kaj en la aero. La trielektroda lampo estos la ĉefa kontribuanto por tiu estonta sukceso.
Fonto:
Ir. J. R. G. Isbrücker: Evoluo de telefonio,
Biblioteko Tutmonda, n-roj. 21-22, eldonejo Rudolf Mosse/Berlin, 1928
Kunlaborintoj: Vári Csilla, Mészáros István
STEB: http://www.eventoj.hu